Casio G-Shock DW-5610 Bedienungsanleitung
Casio Armbanduhr G-Shock DW-5610
Lies die bedienungsanleitung für Casio G-Shock DW-5610 (4 Seiten) kostenlos online; sie gehört zur Kategorie Armbanduhr. Dieses Handbuch wurde von 9 Personen als hilfreich bewertet und erhielt im Schnitt 4.4 Sterne aus 5 Bewertungen. Hast du eine Frage zu Casio G-Shock DW-5610 oder möchtest du andere Nutzer dieses Produkts befragen? Stelle eine Frage
Seite 1/4

Operation Guide 3229/3421/3489
E-9
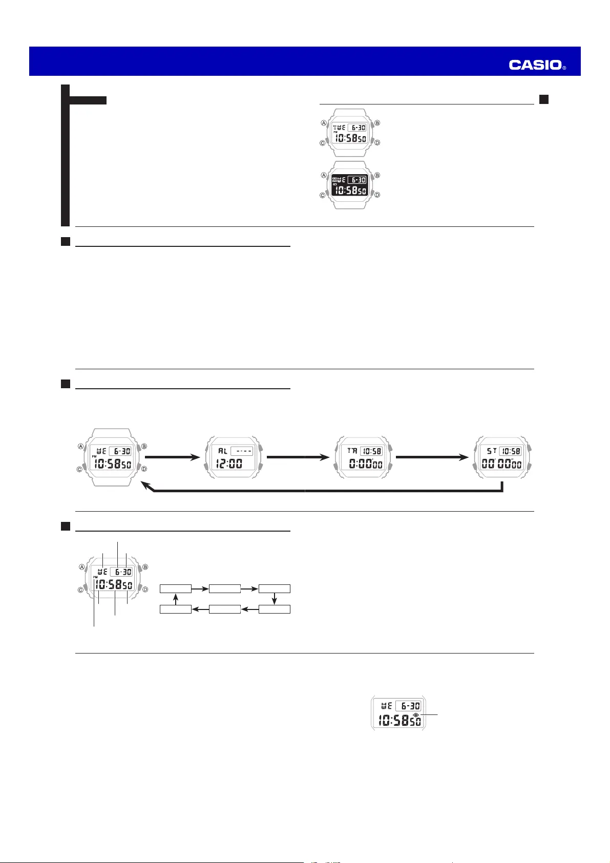
To enable or disable Flash Alert
In the Timekeeping Mode, hold down B for about two seconds to toggle Flash
Alert between enabled and disabled. An indicator on the display shows when Flash
Alert is enabled.
Flash Alert indicator
xThe Flash Alert indicator is shown in all modes until you disable Flash Alert.
xThe above operation controls Flash Alert only. It does not affect operation of
audible tones and signals.
E-8
Backlight
The backlight illuminates the display. Enabling Flash Alert causes the backlight to
flash while the alarm (page E-10), countdown timer alarm, or hourly time signal is
sounding.
xPressing D at any time illuminates the display regardless of the Flash Alert
enabled/disabled setting.
xThe backlight uses an electro-luminescent (EL) light, which loses illuminating power
after very long use.
xFrequent use of the backlight shortens battery life.
xThe watch will emit an audible sound whenever the display is illuminated. This is
caused by a transistor that vibrates while the EL panel is lit, and does not indicate
malfunction.
xIllumination provided by the backlight may be hard to see when viewed under
direct sunlight.
xDisplay illumination will automatically turn off if an alarm starts to sound.
E-7
3. While the seconds digits are selected (flashing), press B to reset the seconds
to “00”. If you press B while the seconds count is in the range of 30 to 59, the
seconds are reset to “00” and 1 is added to the minutes. If the seconds count is
in the range of 00 to 29, the minutes count is unchanged.
4. While any other digits (besides seconds) are selected (flashing), press B to
increase the number. Holding down B changes the number at high speed.
xTo switch between the 12-hour and 24-hour formats, press D
D
while
some digits are flashing.
5. After you set the time and date, press A to return to the Timekeeping Mode.
xThe day of the week is automatically set in accordance with the date.
xThe date can be set within the range of January 1, 2000 to December 31, 2099.
xIf you do not operate any button for a few minutes while a selection is flashing,
the flashing stops and the watch goes back to the Timekeeping Mode
automatically.
E-6
Timekeeping
To set the time and date
1. Press A while in the Timekeeping Mode. The
seconds digits flash on the display because they
are selected.
2. Press C to change the selection in the following
sequence.
Minutes
HourSeconds
Month
Day
C
C
CC
C
Year
C
Minutes
Day of week
Month
Day
PM indicator
HourSeconds
E-5
C
Stopwatch ModeCountdown Timer Mode
C
xAfter you perform an operation in any mode, pressing C returns to the
Timekeeping Mode.
xPress D in any mode to illuminate the display. Illumination turns off about two
seconds after you release D.
E-4
General Guide
xPress C to change from mode to mode.
Timekeeping Mode Alarm Mode
CC
E-3
Countdown Timer.............................................................................................E-14
To set the countdown time ...........................................................................E-14
To use the countdown timer .........................................................................E-15
To switch auto repeat timing on and off .......................................................E-16
Stopwatch .........................................................................................................E-18
To measure elapsed time..............................................................................E-18
To record split times ....................................................................................E-19
To time first and second place finishes.........................................................E-19
Specifications ...................................................................................................E-20
Operating Precautions .....................................................................................E-22
User Maintenance ............................................................................................E-32
E-2
Contents
About This Manual .............................................................................................E-1
General Guide .....................................................................................................E-4
Timekeeping .......................................................................................................E-6
To set the time and date .................................................................................E-6
To enable or disable Flash Alert......................................................................E-9
Alarm .................................................................................................................E-10
To set the alarm time ....................................................................................E-11
To stop the alarm .........................................................................................E-13
To switch an alarm and Hourly Time Signal on and off .................................E-13
E-1
About This Manual
xDepending on the model of your watch, display text
appears either as dark figures on a light background or
light figures on a dark background. All sample displays
in this manual are shown using dark figures on a light
background.
xButton operations are indicated using the letters shown
in the illustration.
xNote that the product illustrations in this manual are
intended for reference only, and so the actual product
may appear somewhat different than depicted by an
illustration.
E
ENGLISH
Congratulations upon your selection of this CASIO watch.
To ensure that this watch provides you with the years of service for which it is
designed, carefully read and follow the instructions in this manual, especially the
information under “Operating Precautions” and “User Maintenance”.
MA2003-EA
Ú
#!3)/#/-054%2#/,4$
Produktspezifikationen
| Marke: | Casio |
| Kategorie: | Armbanduhr |
| Modell: | G-Shock DW-5610 |
Brauchst du Hilfe?
Wenn Sie Hilfe mit Casio G-Shock DW-5610 benötigen, stellen Sie unten eine Frage und andere Benutzer werden Ihnen antworten
Bedienungsanleitung Armbanduhr Casio
3 Oktober 2025
3 Oktober 2025
3 Oktober 2025
1 Oktober 2025
1 Oktober 2025
1 Oktober 2025
1 Oktober 2025
1 Oktober 2025
30 September 2025
30 September 2025
Bedienungsanleitung Armbanduhr
Neueste Bedienungsanleitung für -Kategorien-
2 Dezember 2025
14 November 2025
14 November 2025
13 November 2025
13 November 2025
13 November 2025
13 November 2025
12 November 2025
12 November 2025
30 Oktober 2025