MBM SAE651M Bedienungsanleitung
MBM
Nicht kategorisiert
SAE651M
Lies die bedienungsanleitung für MBM SAE651M (71 Seiten) kostenlos online; sie gehört zur Kategorie Nicht kategorisiert. Dieses Handbuch wurde von 26 Personen als hilfreich bewertet und erhielt im Schnitt 4.4 Sterne aus 13.5 Bewertungen. Hast du eine Frage zu MBM SAE651M oder möchtest du andere Nutzer dieses Produkts befragen? Stelle eine Frage
Seite 1/71

IT - 1
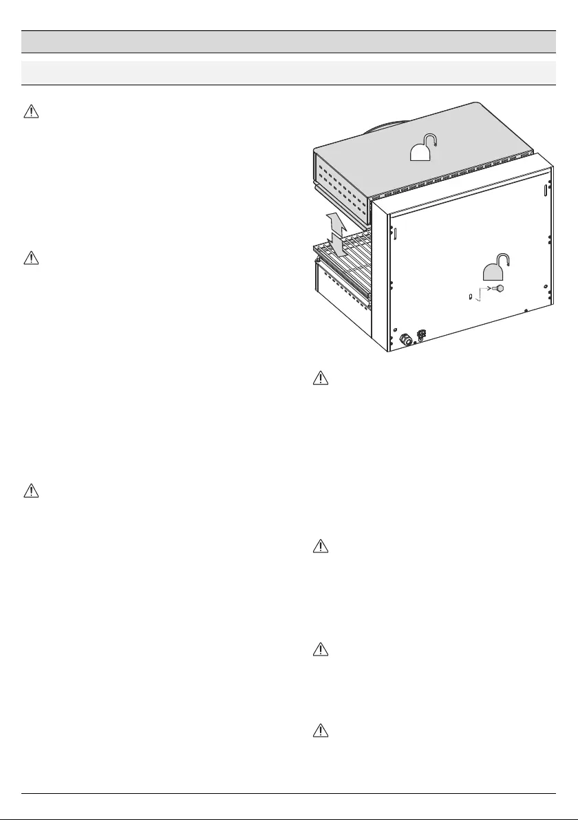
PARTE 1 - USO
AVVERTENZE
L'apparecchio al quale si
riferisce il presente libretto
d'istruzione è costruito nel
rispetto dei requisiti delle Direttive
europee: “Bassa tensione” e
“Compatibilità elettromagnetica”.
Questa apparecchiatura è
concepita unicamente per la
cottura degli alimenti, ogni altro
tipo di impiego è da ritenersi
improprio; è destinata solo ad uso
collettivo e deve essere asservita
esclusivamente da personale
qualificato, debitamente istruito
ed usato solo per lo scopo per cui
è stato progettato.
L'allacciamento, l'installazione e
la manutenzione della
apparecchiatura devono essere
eseguite a cura di personale
qualificato secondo le norme e le
prescrizioni vigenti nel paese ed in
conformità alle presenti istruzioni.
Si consiglia, inoltre, un controllo
annuale da eseguirsi a cura di
professionisti qualificati.
Solo per modelli _SE_40,
_SE_60, SE80 prima di posizionare
e usare l’apparecchiatura
rimuovere la vite posta sulla
schiena; per un successivo
trasporto riposizionare la vite di
bloccaggio della mensola.
Posizionare l'apparecchiatura a
una quota compatibile con la
propria altezza evitando posture
scorrette e sforzi eccessivi.
Si raccomanda di non porre
materiale che possa occludere le
prese d'aria su fianco e fondo.
Non inserire le dita nelle
fessure, pericolo schiacciamento.
Produktspezifikationen
| Marke: | MBM |
| Kategorie: | Nicht kategorisiert |
| Modell: | SAE651M |
Brauchst du Hilfe?
Wenn Sie Hilfe mit MBM SAE651M benötigen, stellen Sie unten eine Frage und andere Benutzer werden Ihnen antworten
Bedienungsanleitung Nicht kategorisiert MBM
27 September 2025
26 September 2025
26 September 2025
26 September 2025
26 September 2025
26 September 2025
26 September 2025
26 September 2025
10 September 2025
10 September 2025
Bedienungsanleitung Nicht kategorisiert
- Durable
- AirExchange
- Sifflus
- AMERRY
- ChyTV
- Magmatic
- 3Doodler
- LONQ
- Zagg
- Aqprox
- JOYROOM
- Omnicharge
- Lowepro
- Peach
- Byron
Neueste Bedienungsanleitung für -Kategorien-
21 Januar 2026
21 Januar 2026
21 Januar 2026
21 Januar 2026
21 Januar 2026
21 Januar 2026
21 Januar 2026
20 Januar 2026
20 Januar 2026
20 Januar 2026