DNT DoorAccess PRO Bedienungsanleitung
DNT
Intelligentes Zuhause
DoorAccess PRO
Lies die bedienungsanleitung für DNT DoorAccess PRO (8 Seiten) kostenlos online; sie gehört zur Kategorie Intelligentes Zuhause. Dieses Handbuch wurde von 26 Personen als hilfreich bewertet und erhielt im Schnitt 3.6 Sterne aus 13.5 Bewertungen. Hast du eine Frage zu DNT DoorAccess PRO oder möchtest du andere Nutzer dieses Produkts befragen? Stelle eine Frage
Seite 1/8

1. Funktion
Der Fingerprint-Türgriff DoorAccess PRO ermöglicht den einfachen Zugang über das
biometrische Zugangsmerkmal „Fingerabdruck“ sowie per Zifferncode. Zur erhöhten
Zugangssicherheit können beide Zugangsarten kombiniert werden. Das Gerät kann bis zu
255 Zugänge verwalten. Der Fingerprint-Türgriff enthält gleichzeitig das Schaltrelais für die
Freigabe des mitgelieferten Türschlosses. Der Innentürgriff ermöglicht jederzeit auch das
Öffnen der Tür (Notfunktion), der Außentürgriff kann alternativ mit einem mechanischen
Schlüssel bedient werden.
• Robuster Fingerprint-Türgriff mit integriertem Schaltrelais
und mitgeliefertem Schlosseinsatz
• Kapazitiver Fingerprint-Sensor, Touch-Tastenfeld
• Zifferncode-Zugang mit 4–6 Ziffern, Eingabefeld hinterleuchtet, mit automatischer
Abschaltung nach 5 s
• Für bis zu 255 Zugänge (100 Fingerprints + 155 PINs)
• Zugang per Fingerprint, Zifferncode oder kombiniert möglich
• Mehrfarbige Statusanzeige, interner Signalgeber
• Netzunabhängiger Batteriebetrieb, Batterielebensdauer bis 6 Monate
(bei 30 Betätigungen/Tag), Warnung bei schwacher Batterie
• USB-Port für Notstromversorgung, z. B. über Powerbank
• Notöffnungsmöglichkeit außen über mechanischen Schlüssel
3. Betriebs-, Wartungs- und Sicherheitshinweise
Bitte lesen Sie diese Bedienungsanleitung vor der Installation und Inbetriebnahme komplett durch und
bewahren Sie die Bedienungsanleitung für späteres Nachlesen auf. Wenn Sie das Gerät anderen Personen
zur Nutzung überlassen, übergeben Sie auch diese Bedienungsanleitung.
Der DoorAccess PRO ist für den Einsatz als allgemeines Zugangskontrollgerät und rein für den
Innenbereich vorgesehen. Für Folgeschäden, die aus Nichtbeachtung dieser Gebrauchsregeln
und der Bedienungsanleitung resultieren, übernehmen wir keine Haftung, Gewährleistungs-
ansprüche erlöschen ebenfalls. Dies gilt auch für Umbauten und Veränderungen.
Lieferumfang:
• Fingerprint-Türgriff DoorAccess PRO
• Schlosseinsatz
• 2x mechanischer Schlüssel
• Montagematerial
• Bedienungsanleitung
• Schraubendreher
2. Bestimmungsgemäßer Einsatz, Lieferumfang
Warnung
Wird verwendet, um Sicherheitshinweise zu kennzeichnen oder um
Aufmerksamkeit auf besondere Gefahren und Risiken zu lenken.
Hinweis
Wird verwendet, um zusätzliche Informationen oder
wichtige Hinweise zu kennzeichnen.
• Aus Sicherheits- und Zulassungsgründen (CE) ist das eigenmächtige Umbauen und/oder
Verändern des Produkts nicht gestattet.
• Setzen Sie das Gerät keinem Einfluss von Feuchtigkeit, Vibrationen, ständiger Wärmeein-
strahlung, extremer Kälte, starken elektromagnetischen Feldern und keinen mechanischen
Belastungen aus.
• Beachten Sie alle Hinweise in der Bedienungsanleitung zum Anschluss von Spannungen.
Falsche oder verpolte Spannungen zerstören das Gerät.
• Lassen Sie das Verpackungsmaterial nicht achtlos liegen, Plastikfolien/-tüten, Styroporteile
etc. könnten für Kinder zu einem gefährlichen Spielzeug werden.
• Wurde das Gerät beschädigt, nehmen Sie das Gerät außer Betrieb und wenden sich an
unseren Service.
Bei Sach- oder Personenschäden, die durch unsachgemäße Handhabung oder Nicht-
beachten der Sicherheitshinweise und der Bedienungsanleitung verursacht werden,
übernehmen wir keine Haftung. In solchen Fällen erlischt jeder Gewährleistungsan-
spruch! Für Folgeschäden übernehmen wir keine Haftung.
Öffnen Sie das Gerät nicht, unternehmen Sie keine Reparaturversuche, nehmen Sie
keine Umbauten oder Veränderungen vor – dies führt zum Verlust des Gewährleis-
tungsanspruchs. Für Folgeschäden übernehmen wir keine Haftung.
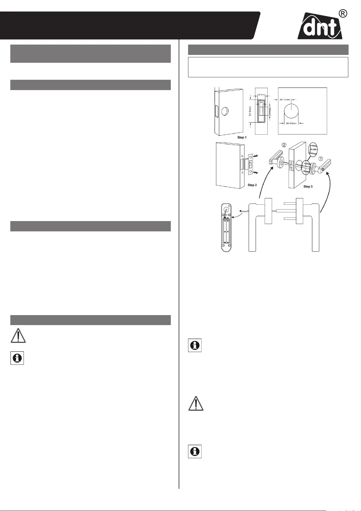
4. Installation/Montage
• Der Ausschnitt für den Schlosseinsatz muss den in Step 1 gezeigten Maßen entsprechen.
• Setzen Sie den Schlosseinsatz seitenrichtig ein und befestigen Sie ihn mit den mitgelie-
ferten Senkkopf-Holzschrauben (Step 2).
• Schrauben Sie die mitgelieferten Gewindebolzen in die Gewinde des Außentürgriffs und
auf diese die Gewindeverlängerungen. Über diese können Sie danach die Verschraubung
an die Türblattdicke anpassen.
• Führen Sie das Kabel vom Außentürgriff aus durch den mitgelieferten Antriebsvierkant
und setzen Sie diesen in den Außentürgriff ein (bis zum Anschlag einschieben).
• Setzen Sie den so vormontierten Außentürgriff in das Türblatt ein (Step 3, (1)).
• Öffnen Sie die Abdeckung des Innentürgriffs durch Lösen der Halteschraube am Griffende
und drücken Sie die Abdeckung durch Einstecken des Schraubendrehers in die Schrau-
benöffnung und leichtes Hebeln des Schraubendrehers nach oben auf.
Hinweis: Öffnen Sie die Abdeckung nur wie hier beschrieben über die
Schraubenöffnung. Nicht über die Abdeckung z. B. mit einem Schrauben-
dreher oder Messer aushebeln – dies beschädigt die Abdeckung.
• Stecken Sie nun den Kabelstecker in die zugehörige Buchse.
Verwenden Sie ggf. dazu eine schlanke Montagezange oder eine Pinzette.
• Beachten Sie dabei, dass der Stecker polrichtig eingesetzt wird. Er lässt sich nur in
eine Richtung ohne mechanischen Widerstand einsetzen. Die 3 erhabenen Noppen
müssen auf der offenen Seite der Buchse liegen.
Warnung: Stecken Sie den Stecker nur auf, wenn sich keine Batterien im
Batteriefach befinden! Im Falle eines versehentlich falsch eingesetzten
Steckers kann es zu einer Beschädigung des Geräts kommen!
• Setzen Sie dann den Innentürgriff auf den Antriebsvierkant auf und verschrauben Sie
den Innentürgriff mit den mitgelieferten Gewindeschrauben auf den durchgesteckten
Gewindebolzen (Step 3 (2)).
Hinweis: Bitte entnehmen Sie dazu den Batteriehalter, um durch das jetzt
freigelegte Loch die Schraube unterhalb des Griffes festzuschrauben.
Anschließend setzen sie den Batteriehalter wieder ein.
• Legen Sie 4 Micro-Batterien (AAA/LR03, Alkaline) polrichtig entsprechend der Polungs-
markierung in das Batteriefach ein. Das Gerät quittiert das richtige Einlegen mit einem
kurzen Signalton.
Türblattdicke: 40–50 mm
Fingerprint-Türgriff DoorAccess PRO
Artikelnummer: DNT000014 Bedienungsanleitung
Importeur: dnt Innovation GmbH
Maiburger Straße 29 · 26789 Leer · Germany · www.dnt.de
Hinweis: In den meisten Fällen können Sie Ihr vorhandenes Schloss weiterhin
nutzen. Prüfen Sie dazu bitte den Bohrlochabstand Ihrer Tür. Beim DoorAccess PRO
beträgt dieser 4 cm.
Produktspezifikationen
| Marke: | DNT |
| Kategorie: | Intelligentes Zuhause |
| Modell: | DoorAccess PRO |
Brauchst du Hilfe?
Wenn Sie Hilfe mit DNT DoorAccess PRO benötigen, stellen Sie unten eine Frage und andere Benutzer werden Ihnen antworten
Bedienungsanleitung Intelligentes Zuhause DNT
23 September 2025
Bedienungsanleitung Intelligentes Zuhause
- DoorBird
- TechniSat
- Dometic
- Silvergear
- Theben
- Tripp Lite
- Cisco
- Delta Dore
- Niko
- Sommer
- Blaupunkt
- Vivax
- EnerGenie
- Tenda
- Hom-io
Neueste Bedienungsanleitung für -Kategorien-
18 Januar 2026
18 Januar 2026
16 Januar 2026
14 Januar 2026
14 Januar 2026
13 Januar 2026
12 Januar 2026
9 Januar 2026
9 Januar 2026
7 Januar 2026