Forte Lighting 2746-01 Bedienungsanleitung
Forte Lighting Beleuchtung 2746-01
Lies die bedienungsanleitung für Forte Lighting 2746-01 (2 Seiten) kostenlos online; sie gehört zur Kategorie Beleuchtung. Dieses Handbuch wurde von 2 Personen als hilfreich bewertet und erhielt im Schnitt 4.5 Sterne aus 3 Bewertungen. Hast du eine Frage zu Forte Lighting 2746-01 oder möchtest du andere Nutzer dieses Produkts befragen? Stelle eine Frage
Seite 1/2

Page 1 of 2
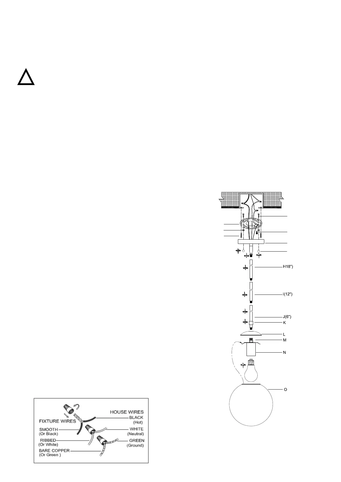
INSTALLATION INSTRUCTIONS
Model# 2746-01
1 LIGHT PENDANT
! Warnings and Cautions
Turn off electricity at circuit breaker or main fuse box before installation. Consult a licensed electrician if you are
in doubt.
These instructions are provided for your safety. It is very important you read them completely before installing
fixture. We strongly recommend that a licensed, professional electrician perform the installation.
Turn off the fixture at the switch before replacing the bulbs.
- Make sure bulbs are given sufficient time to cool before removal.
- Do not subject glass parts to any shock while in operation or shattering may result.
Tools Required (Not Included): Flathead screwdriver, Phillips screwdriver, Wire cutters, Electrical tape, Safety
goggles, Ladder.
Helpful Tools (not included): Wire strippers.
ASSEMBLY INSTRUCTIONS
1.Carefully unpack and lay all parts on a clean, level
surface. Do not discard any contents until after
assembly is complete to avoid accidentally
discarding small parts or hardware.
2.Unscrew the pre-assembledlocking ball nut(G) from
the mounting bracket (B). Attach the mounting
bracket (B) to the junction box (not included) with
the junction box screws (D).
3.Determine which rods (J/I/H) you want to be
assembled to the socket assembly (M) according to
your desired hanging height. Feed the supply wires
and ground wire through the assembled 6 inch
rod(s) and 12 inch rod (s) or18 inch rod and
through the ceiling canopy (F).until there is no slack
in the wires Hand tighten the rods (J/I/H) to the
ceiling canopy (F) until snug.
4.Lift the canopy (F) toward the ceiling, and pull any
excess wire up through the canopy (F).
A
E
D
C
G
B
F
Produktspezifikationen
| Marke: | Forte Lighting |
| Kategorie: | Beleuchtung |
| Modell: | 2746-01 |
Brauchst du Hilfe?
Wenn Sie Hilfe mit Forte Lighting 2746-01 benötigen, stellen Sie unten eine Frage und andere Benutzer werden Ihnen antworten
Bedienungsanleitung Beleuchtung Forte Lighting
31 Januar 2026
31 Januar 2026
31 Januar 2026
30 Januar 2026
30 Januar 2026
30 Januar 2026
27 Januar 2026
27 Januar 2026
27 Januar 2026
27 Januar 2026
Bedienungsanleitung Beleuchtung
Neueste Bedienungsanleitung für -Kategorien-
31 Januar 2026
31 Januar 2026
31 Januar 2026
31 Januar 2026
31 Januar 2026
31 Januar 2026
31 Januar 2026
31 Januar 2026
31 Januar 2026
31 Januar 2026