HT Instruments HT70 Bedienungsanleitung
HT Instruments
Multimeter
HT70
Lies die bedienungsanleitung für HT Instruments HT70 (1 Seiten) kostenlos online; sie gehört zur Kategorie Multimeter. Dieses Handbuch wurde von 7 Personen als hilfreich bewertet und erhielt im Schnitt 4.9 Sterne aus 4 Bewertungen. Hast du eine Frage zu HT Instruments HT70 oder möchtest du andere Nutzer dieses Produkts befragen? Stelle eine Frage
Seite 1/1

Bedienungsanleitung
HT70 Spannungs- und Drehfeldrichtungsmesser
1. Sicherheitsvorkehrungen
Bitte folgen Sie den nachfolgenden Anweisungen bevor Sie irgendwelche
Messungen mit dem HT70 durchführen:
Achtung
• Ein unsachgemäßer Gebrauch kann das Messgerät
beschädigen oder den Anwender verletzen.
• Vermeiden Sie Messungen in der Nähe von
explosiven oder brennbaren Gasen oder staubreichen
Umgebungen.
• Nehmen Sie keine Messungen vor, wenn Sie anomale
Bedingungen wie Bruchschäden, Deformationen,
Sprünge, Austritt von Batterieflüssigkeit bemerken
• Führen Sie keine Messungen durch, die ausserhalb
der angegebenen Spannungsgrenzen liegen
• Führen Sie keine Messungen durch, die ausserhalb
der angegebenen Umgebungsbedingungen liegen
• Führen Sie keine Messungen durch, bei der sich Ihre
Hand oberhalb des Sicheheitsringes (3) befindet.
2. Einführung
Das HT70 kann Wechselspannung und die Drehfeldrichtung ermitteln,
mit Hilfe einer rot / grünen LED und akustischem Summer.
3. Funktionen
AC Spannungserkennung
Drehfeldrichtungsermittlung und Phasenübereinstimmung
Überprüfen von Kabeln, Steckdosen und Unterbrechungen
Sichtbare LED & akustischer Summer
Auto Power OFF
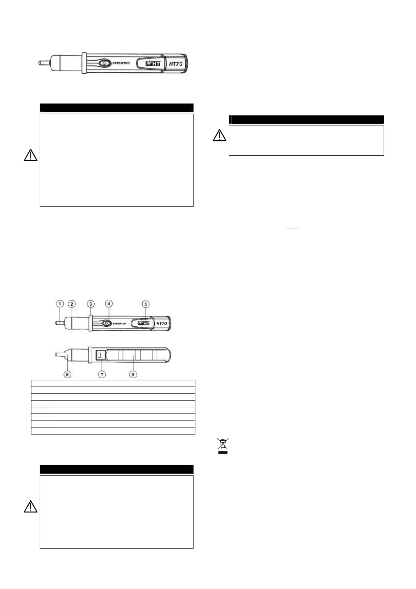
4. Beschreibung
5. Drehfeldrichtungsermittlung und Phasen-
übereinstimmung
ACHTUNG
• Die Messresultate sind nicht garantiert für Messungen
an Systemen mit Spannungen ausserhalb vom
Bereich 200V bis 1000V AC und 50 60Hz Frequenz. ÷
• Um die Messungen korrekt durchführen zu können,
überprüfen Sie, ob die Phasen L1, L2 und L3 nicht zu
nah beeinander liegen und sich gegenseitig
beeinträchtigen.
• Führen Sie keine Messungen durch, bei der sich Ihre
Hand oberhalb des Sicherheitsringes (3) befindet und
positionieren Sie einen zu überprüfenden blanken
Leiter keinesfalls hinter die CAT IV Markierung (2)
1 Spannungssensor
2 Referenzmarkierung für CAT IV Messungen
3 Handschutz ( Sicherheitsring)
4 ON/OFF Taste
5 Stiftclip
6 Grüne / Rote LED
7 Halter für Batteriedeckel
8 Batteriedeckel
1. Drücken Sie die ON/OFF Taste für min. 1 sec.
Die grüne und rote
LED werden aufleuchten und der Summer wird kurz ertönen. Danach
ist das Messgerät einsatzbereit, (wird angezeigt durch die grün
blinkende LED).
2. Positionieren Sie den Sensor vom HT70 an den Leiter der Phase L1
(Metal oder Isolierung) für min. 5sec, um den Drehfeldrichtungstest
zu aktivieren. Die rote LED und der Summer werden aktiv sofern die
Spannung und Frequenz erkannt werden. Die rote LED wird so lange
blinken, (Summer ist auch aktiv) bis die korrekte Synchronisation an
der Phase L1 erfolgt ist.
3. Entfernen Sie den Sensor von Phase L1 und warten Sie bis der
Summer und die rote LED sich ausschalten bevor Sie den Sensor
vom HT70 an den Leiter der Phase L2 positionieren.
ACHTUNG
• Sofern Sie länger als 10 sec zwischen erster und 2.ter Messng
warten, werden die grüne als auch die rote LED blinken und
der Summer für ein paar Sekunden ertönen. Danach stellt sich
das HT70 wieder zurück in den Stanby-Modus. Nun kann die
Messung wieder neu beginnen.
4. Positionieren Sie den Sensor vom HT70 an den Leiter der Phase L2
(Metal oder Isolierung) Die rote LED und der Summer für min. 5sec.
werden aktiv sofern die Spannung und Frequenz erkannt werden.
5. Nach Beendigung der Messung an Phase L2 werden nachfolgend
aufgeführte Messergebnisse angezeigt:
Grüne LED leuchtet auf und der Summer ertönt für einige
Sekunden bevor sich das HT70 wieder zurück in den Standby-
Modus stellt: Drehfeldrichtung ok (rechtsdrehend)
Aufleuchten der roten LED und aktiver Summer für einige
Sekunden bevor sich das HT70 in den Standby Modus stellt:
Drehfeldrichtung nicht ok.
4. Wiederholen Sie die Punkte 2) 3) und 4) an der Phase L1 bei beiden
3 Phasen Systemen im Falle einer Prüfung auf Phasenüberein-
stimmung. Am Ende des Tests werden nachfolgend aufgeführte
Messergebnisse angezeigt:
Grüne LED blinkt auf und der Summer ertönt für einige
Sekunden bevor sich das HT70 wieder zurück in den Standby-
Modus stellt: Phasenübereinstimmung korrekt.
Rote LED blinkt auf und der Summer ertönt für einige Sekunden
bevor sich das HT70 wieder zurück in den Standby-Modus stellt:
Phasenübereinstimmung nicht korrekt.
6. Spannungsprüfung
1. Schalten Sie das HT70 an, durch Drücken auf die ON/OFF Taste für
min. 1sec. Warten Sie auf den Standby-Mode bis die grüne LED
blinkt.
2. Positionieren Sie den Sensor in die Nähe des Prüflings für min. 5
sec., überprüfen Sie dann ob die rote LED aufleuchtet und der
Summer einen andauernden Ton von sich gibt. Führen Sie keine
Messungen durch, bei der sich Ihre Hand oberhalb des
Sicherheitsringes (3) befindet und positionieren Sie den zu
überprüfenden Leiter keinesfalls hinter die CAT IV Markierung (2).
3. Drücken Sie die ON/OFF Taste für min. 3 sec um das Messgerät
auszuschalten.
7. Batteriewechsel
1. Gehen Sie wie folgt vor um die Batterien zu wechseln:
2. Entfernen Sie alle Spannungen vom Messgerät
3. Drücken Sie leicht auf die Batterieabdeckung. ( siehe Bild 8)
4. Schieben Sie den Deckel vom Messgerät ab.
5. Ersetzen Sie die Batterien, beachten Sie beim Einsetzen die Polarität
6. Setzen Sie das Batteriefach wieder auf.
7. Entsorgen Sie die verbrauchten Batterien ordnungsgemäß
Dieses Symbol zeigt an, dass das Gerät und die einzelnen
Zubehörteile fachgemäß und getrennt voneinander entsorgt
werden müssen
7. Technische Spezifikationen
• Spannungsbereich : 200 ÷ 1000V AC gegen Erde
• Frequenzbereich: 50/60Hz
• Anzeige: visuelle LED and akustischer Summer
• Sicherheit: IEC/EN61010-1
• Überspannungskategorie: CAT IV 1000V
• Verschmutzungsgrad: 2
• Batterien: 2 x 1.5V alkaline Typ AAA IEC LR03
• Autonomie: >9000 Tests
• Auto Power OFF: nach 5 Minutes
• Arbeitstemperatur: -10°C 50°C ÷
• Arbeitsfeuchte: -10 40°C <75%HR ; 40 ÷ ÷
50°C <45%HR
• Dimensionen: 160 (L) x 26 (B) x 20(H) mm ;
• Gewicht: (incl. Batterien): 48g
Release EN 1.00 – 23/10/2008
Produktspezifikationen
| Marke: | HT Instruments |
| Kategorie: | Multimeter |
| Modell: | HT70 |
Brauchst du Hilfe?
Wenn Sie Hilfe mit HT Instruments HT70 benötigen, stellen Sie unten eine Frage und andere Benutzer werden Ihnen antworten
Bedienungsanleitung Multimeter HT Instruments
12 Oktober 2025
15 September 2025
15 September 2025
15 September 2025
15 September 2025
15 September 2025
15 September 2025
15 September 2025
15 September 2025
15 September 2025
Bedienungsanleitung Multimeter
- Horex
- Bearware
- Enovalab
- Chauvin Arnoux
- Beha-Amprobe
- Mastech
- Hubinont
- TFA
- Digi-tool
- Dasqua
- Kewtech
- Clas Ohlson
- Strex
- Sonel
- Abus
Neueste Bedienungsanleitung für -Kategorien-
14 Januar 2026
2 Dezember 2025
29 November 2025
28 November 2025
25 November 2025
25 November 2025
25 November 2025
24 November 2025
23 November 2025
23 November 2025