Texas Instruments ADS900 Bedienungsanleitung
Lies die bedienungsanleitung für Texas Instruments ADS900 (16 Seiten) kostenlos online; sie gehört zur Kategorie Nicht kategorisiert. Dieses Handbuch wurde von 2 Personen als hilfreich bewertet und erhielt im Schnitt 4.9 Sterne aus 5 Bewertungen. Hast du eine Frage zu Texas Instruments ADS900 oder möchtest du andere Nutzer dieses Produkts befragen? Stelle eine Frage
Seite 1/16

FEATURES
●+2.7V TO +3.7V SUPPLY OPERATION
●INTERNAL REFERENCE
●LOW POWER: 52mW at +3V
●SINGLE-ENDED INPUT RANGE: 1V to 2V
●WIDEBAND TRACK/HOLD: 350MHz
●SSOP-28 PACKAGE
DESCRIPTION
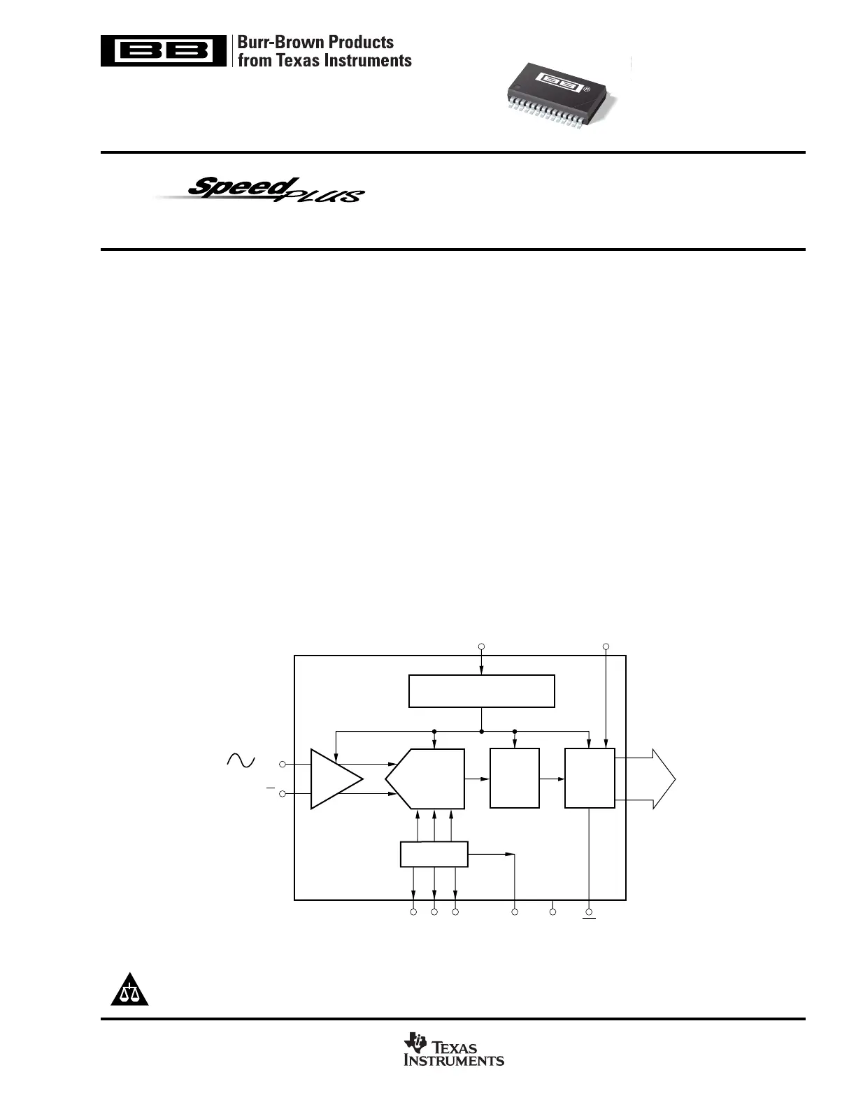
The ADS900 is a high-speed pipelined Analog-to-Digital
Converter (ADC). This complete converter includes a high
bandwidth track-and-hold, a 10-bit quantizer, and an inter-
nal reference.
The ADS900 employs digital error correction techniques to
provide excellent differential linearity for demanding im-
aging applications. Its low distortion and high SNR give the
extra margin needed for telecommunications, video and
test instrumentation applications.
This high-performance ADC is specified for performance
at a 20MHz sampling rate. The ADS900 is available in an
SSOP-28 package.
10-Bit, 20MHz, +3V Supply
ANALOG-TO-DIGITAL CONVERTER
APPLICATIONS
●PORTABLE INSTRUMENTATION
●IF AND BASEBAND COMMUNICATIONS
●CABLE MODEMS
●SET-TOP BOXES
●PORTABLE TEST EQUIPMENT
●COMPUTER SCANNERS
TM
Pipeline
A/D
Internal
Reference
Timing
Circuitry
Error
Correction
3-State
Outputs
T/H
10-Bit
Digital
Data
CLK
ADS900
LV
DD
OEPwrdn1V
REF
LnByCMLpBy
IN
2V
1V
IN
(Opt.)
ADS900
SBAS058A – MAY 2001
www.ti.com
PRODUCTION DATA information is current as of publication date.
Products conform to specifications per the terms of Texas Instruments
standard warranty. Production processing does not necessarily include
testing of all parameters.
Copyright © 1997, Texas Instruments Incorporated
Please be aware that an important notice concerning availability, standard warranty, and use in critical applications of
Texas Instruments semiconductor products and disclaimers thereto appears at the end of this data sheet.
A
D
S
9
0
0
E
Produktspezifikationen
| Marke: | Texas Instruments |
| Kategorie: | Nicht kategorisiert |
| Modell: | ADS900 |
Brauchst du Hilfe?
Wenn Sie Hilfe mit Texas Instruments ADS900 benötigen, stellen Sie unten eine Frage und andere Benutzer werden Ihnen antworten
Bedienungsanleitung Nicht kategorisiert Texas Instruments
5 März 2026
5 März 2026
5 März 2026
5 März 2026
5 März 2026
5 März 2026
5 März 2026
5 März 2026
5 März 2026
5 März 2026
Bedienungsanleitung Nicht kategorisiert
Neueste Bedienungsanleitung für -Kategorien-
5 März 2026
5 März 2026
5 März 2026
5 März 2026
5 März 2026
5 März 2026
5 März 2026
5 März 2026
5 März 2026
5 März 2026