Cres Cor IFW-63-10 Bedienungsanleitung
Cres Cor Beleuchtung IFW-63-10
Lies die bedienungsanleitung für Cres Cor IFW-63-10 (2 Seiten) kostenlos online; sie gehört zur Kategorie Beleuchtung. Dieses Handbuch wurde von 19 Personen als hilfreich bewertet und erhielt im Schnitt 4.4 Sterne aus 10 Bewertungen. Hast du eine Frage zu Cres Cor IFW-63-10 oder möchtest du andere Nutzer dieses Produkts befragen? Stelle eine Frage
Seite 1/2

INSTALLATION INSTRUCTIONS
for PULL-DOWN INFRA RED MODELS IFW-63 SERIES
5925 Heisley Road • Mentor, OH 44060-1833
Infra-red Lamps
IFW 63 Series
FL-2219
Rev. 2 (05/06)Page 1 of 2
Call Toll-free: 877-CRES COR (273-7267) • Fax: 800-822-0393 • www.crescor.com
ELECTRICAL SPECS:
VOLTSWATTSAMPSHERTZPHASENEMA
1202502.06015-15
2402751.16016-15
Warmer should be installed by an experienced
electrician.
U.L. and CSA REQUIREMENTS:
A. Wires of warmers to be connected to 75°C wire.
B. Wires are to be installed in conduit.
C. Warmers are not to be installed any closer than 1” from
a wall.
D. Warmers must be at least 16” above a combustible
surface.
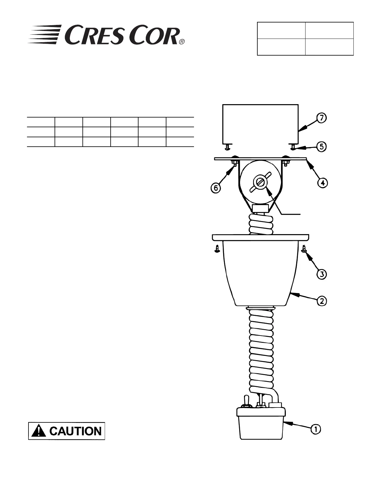
HOW TO INSTALL: (See figure at right)
NOTE: Outlet box (7) and screws (5) are to be furnished by
customer.
Pull canopy (2) down over coil cord.
Attach ground wire from ceiling to the “GND” hole in
the plate (4) with screw (6).
Wire the warmer leads to the outlet box (7) leads.
Attach plate (4) to the outlet box (7) with screws (5).
Lower or raise the coil cord to the height you want.
Adjust the tension of the coil cord in the slot as shown.
(a) To increase tension, turn slot clockwise.
(b) To decrease tension, turn slot counter clockwise.
7. Pull up canopy (2) and screw it to the plate (4) with two
machine screws (3).
8. Screw lamp into socket.
1.
2.
3.
4.
5.
6.
DO NOT PULL
DOWN ON CORD
BEYOND THE STOP.
Adjust Coil
Tension
Produktspezifikationen
| Marke: | Cres Cor |
| Kategorie: | Beleuchtung |
| Modell: | IFW-63-10 |
Brauchst du Hilfe?
Wenn Sie Hilfe mit Cres Cor IFW-63-10 benötigen, stellen Sie unten eine Frage und andere Benutzer werden Ihnen antworten
Bedienungsanleitung Beleuchtung Cres Cor
25 September 2025
25 September 2025
25 September 2025
25 September 2025
25 September 2025
25 September 2025
27 August 2025
27 August 2025
27 August 2025
Bedienungsanleitung Beleuchtung
Neueste Bedienungsanleitung für -Kategorien-
21 Januar 2026
21 Januar 2026
21 Januar 2026
21 Januar 2026
21 Januar 2026
21 Januar 2026
Philips Ultinon Drive 2001L LUMUD2001LX2 Bedienungsanleitung
21 Januar 2026
21 Januar 2026
21 Januar 2026
21 Januar 2026